| 临沭县民政局政府信息公开指南 | ||||||||||||||||||||||||
| 2026-01-19 点击数: | ||||||||||||||||||||||||
|
||||||||||||||||||||||||
|
||||||||||||||||||||||||
|
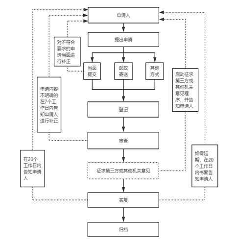
为了保障公民、法人和其他组织依法获取政府信息,充分发挥政府信息对人民群众生产、生活和经济社会活动的服务作用,根据《中华人民共和国政府信息公开条例》、《山东省政府信息公开办法》和有关法律法规的规定,结合我县实际,编制了《临沭县民政局信息公开指南》(以下简称《指南》)。 本《指南》所称政府信息,是指行政机关在履行行政管理职能过程中制作或者获取的,以一定形式记录、保存的信息。行政机关公开政府信息,应当坚持以公开为常态、不公开为例外,遵循公正、公平、合法、便民的原则。 一、主动公开 本中心主动公开的政府信息范围。 (一)公开范围 1、机构职能 主要包括:本部门机构设置及主要职能情况;机构领导;内设机构设置及职能情况等。 2、政策法规 主要包括:由上级部门制定与本部门职责相关的法规、规章;以本部门名义发布或者本部门作为主办部门与其他部门联合发布的规范性文件等。 3、规划计划 主要包括:本部门阶段性工作计划、工作重点安排等。 4、其他 主要包括:本部门重要会议、活动的主要情况,以及本部门职责范围内依法应当公开的其他信息。 (二)公开形式 本单位政府信息公开主要采取政府网站网上公开形式。网站为:临沭县人民政府,网址为:http://www.linshu.gov.cn/ 本单位还将采用以下辅助方式主动公开政府信息: 注册微信公众号,发布全县民政工作动态等信息。微信公众号:名称为临沭县民政局。 (三)公开时限 本单位主动公开的政府信息,自政府信息形成或者变更之日20个工作日内予以公开。法律、法规对政府信息公开的期限另有规定的,从其规定。 二、依申请公开 除本单位主动公开的政府信息外,公民、法人或者其他组织可以向本单位申请获取相关政府信息。 本单位政府信息公开申请受理机构(见本《指南》第三条),负责受理公民、法人或者其他组织向本单位提出的政府信息公开申请。 (一)依申请公开的提出 申请人向受理机构提出申请公开政府信息时,应如实填写《临沭县政府信息公开申请表》(以下简称《申请表》)。《申请表》可以在临沭县政府门户网站(http://www.linshu.gov.cn/zfxxgk/ysqgk.jsp?urltype=tree.TreeTempUrl&wbtreeid=3868)下载,也可以到受理机构领取。 为了提高处理申请的效率,申请人在提出政府信息公开申请时,申请表要逐项填写,字迹清楚、工整,不得涂改;准确、如实填写申请人姓名或机构名称、联系方式等;尽量详细、明确的描述申请获取信息,若有可能,请提供该信息的标题、发布时间、文号或者其他有助于受理机构确定信息内容的提示。 (二)政府信息公开申请接受渠道 申请人可以通过以下三种渠道提出政府信息公开申请: 1.当面申请:申请人可以到临沭县民政局办公室,当面提交政府信息公开申请。 地址:临沭县顺河东街68号 办公时间:8:30-12:00,14:30-18:00(法定工作日,夏季);8:30-12:00,14:00-17:30(法定工作日,冬季) 联系电话:0539-2651160 2.邮政寄件申请:申请人通过邮政寄送方式提出申请的,请在信封左下角注明“政府信息公开申请”的字样。申请人可以通过临沭县政府门户网站“政务公开”专栏“政府信息依申请公开”页面下载信息公开申请表。 地址:临沭县顺河东街68号 联系电话:0539-2651160 3.政府门户网站申请:申请人可以通过临沭县政府门户网站(http://www.linshu.gov.cn/)“政务公开”专栏“政府信息依申请公开”页面的在线服务功能填写《临沭县人民政府办公室信息公开申请表》提交申请。申请人成功提交申请后,请妥善保存电子回执,以便查询申请办理情况。 (三)办理流程
(四)收费标准 本部门提供政府信息不收取费用。但是,申请人申请公开政府信息的数量、频次明显超过合理范围的,本部门可以收取信息处理费,收费标准按照国家有关规定执行。 (五)申请的办理流程说明 本部门收到政府信息公开申请后,予以登记,除可以当场答复的外,自收到申请之日起20个工作日内予以答复;如需延长答复期限的,需经本部门政府信息公开工作机构负责人同意,并告知申请人,延长答复的期限最长不超过20个工作日。 对申请公开的政府信息,本部门根据下列不同情况作出答复: 1.属于已经主动公开的,告知申请人获取该政府信息的方式和途径,由申请人在政府门户网站和有关政府信息查阅场所进行查找; 2.属于可以公开的政府信息,向申请人提供该政府信息,或者告知申请人获取该政府信息的方式、途径和时间; 3.属于不予公开范围的,告知申请人并说明理由; 4.经检索没有所申请公开信息的,告知申请人该政府信息不存在; 5.申请的政府信息不属于本部门负责公开的,告知申请人并说明理由。如能确定负责公开该政府信息的行政部门的,告知申请人该行政部门的名称,联系方式; 6.本部门已就申请人提出的政府信息公开申请作出答复、申请人重复申请公开相同政府信息的,告知申请人不予重复处理; 三、工作机构 本单位政府信息公开工作机构为:临沭县民政局 办公地址:顺河东街68号 邮政编码:276700 办公时间:8:30-12:00,14:30-18:00(法定工作日,夏季);8:30-12:00,14:00-17:30(法定工作日,冬季) 联系电话:0539-2651160 四、监督和救济 公民、法人或者其他组织认为本机关提供的与其自身相关的政府信息记录不准确的,可以向本机关提出更正申请,并提供证据材料。本机关将根据申请作出相应处理,并告知申请人。 公民、法人或者其他组织认为本机关未依法履行政府信息公开义务的,可向本机关投诉举报(投诉电话:0539-2651160,办公地址:临沭县顺河东街68号,邮政编码:276700,接待投诉时间:8:30-12:00,14:30-18:00(法定工作日,夏季);8:30-12:00,14:00-17:30(法定工作日,冬季)。 公民、法人或其他组织也可以向上级行政机关、监察机关或者政府信息公开工作主管部门举报。 公民、法人或者其他组织认为行政机关在政府信息公开工作中的具体行政行为侵犯其合法权益的,公民、法人和其他组织可以依法申请行政复议或提起行政诉讼。 (1)行政复议机关:临沭县人民政府 受理机构:临沭县人民政府行政复议办公室 办公地址:临沭县正大街创业大厦东门公共法律服务中心18、19号窗口 邮政编码:276700 办公时间:8:30-12:00,14:30-18:00(法定工作日,夏季);8:30-12:00,14:00-17:30(法定工作日,冬季) 联系电话:0539-6239464 传真:0539-6239464 (2)行政诉讼机关:临沭县人民法院 办公地址:临沭县沭河西街121号 邮政编码:276700 办公时间:8:30-12:00,14:30-18:00(法定工作日,夏季);8:30-12:00,14:00-17:30(法定工作日,冬季) 联系电话:0539-6200002 本指南将适时更新。 临沭县民政局 2025年1月3日 |
||||||||||||||||||||||||
|
|
||||||||||||||||||||||||
| 【关闭窗口】 | ||||||||||||||||||||||||
智能问答

