| 临沭县水利局政府信息公开指南 | ||||||||||||||||||||||||
| 2026-01-05 点击数: | ||||||||||||||||||||||||
|
||||||||||||||||||||||||
|
||||||||||||||||||||||||
|
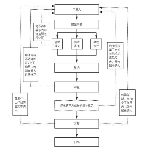
为充分发挥政府信息对人民群众生产、生活和经济社会活动的服务作用,提高政府工作的透明度,根据《中华人民共和国政府信息公开条例》(以下简称《条例》),编制本指南,本《指南》根据需要及时更新。公民、法人或者其他组织可以在临沭县人民政府网站(http://www.linshu.gov.cn/)上查阅本《指南》。 一、主动公开政府信息 本机关在职责范围内,负责主动公开下列各类政府信息: (一)履职依据 主要包括:法律法规、政府规章。 (二)机构职能 主要包括:本机关领导及分工情况;本机关机构设置及职能情况等。 包括:机关职能、机构设置、办公地址、办公时间、联系方式、负责人姓名。 (三)领导信息 主要包括:本机关领导情况。 (四)会议公开 主要包括:部门办公会议、局机关专题会议等重要会议的有关情况。 (五)政策文件 主要包括:以县政府名义发布的文件;以本机关名义发布或者本机关作为主办部门与其他部门联合发布的文件等。 (六)规划计划 主要包括:年度工作计划、年度工作总结。 (七)重点领域 主要包括:“双随机、一公开”监管、行政执法公示、“河长制”工作。 (八)建议提案 主要包括:人大代表建议办理、政协委员提案办理情况。 (九)其他 主要包括:本机关其他应该公开的政府信息。 二、信息公开方式 (一)主动公开 本机关主要通过下列方式主动公开政府信息: 1.通过政府公报、新闻发布会等形式和报纸、广播、电视等公共媒体主动公开政府信息。 2.本机关在县人民政府网设有政府信息公开查阅点,公民、法人或者其他组织可以到该查阅点查阅本机关公开的政府信息。 3.公开形式:临沭县水利局政府网站(http://www.linshu.gov.cn/xz_bum_xxgklby.jsp?urltype=govinfo.GovDeptInfoList&wbtreeid=1003&dpcode=linshuxianslj&dpopenitem=linshuxianslj)。 同时,在县政务服务中心(地址:临沭县正大街9号县政务服务中心一楼政务公开体验区;联系方式:0539-6207010;查阅服务时间:上午:8:30—12:00;下午:14:30-18:00(法定工作日,夏季),上午:8:30—12:00;下午:14:00-17:30(法定工作日,冬季))、县档案馆(地址:临沭县正大街创业大厦;查档电话:0539-2132363;开放时间:上午:8:30—12:00;下午:14:30-18:00(法定工作日,夏季),上午:8:30—12:00;下午:14:00-17:30(法定工作日,冬季))、临沭县图书馆(临沭县沭河西大街69号;联系电话:0539-6211976;开放时间:上午:8:30—12:00;下午:14:30-18:00(法定工作日,夏季),上午:8:30—12:00;下午:14:00-17:30(法定工作日,冬季))等场所设置政府信息查阅点。 4.公开时限:属于主动公开范围的政府信息,自该信息形成或者变更之日起20个工作日内予以公开。法律、法规对政府信息公开的期限另有规定的,从其规定。 (二)依申请公开 1.申请 申请人可以通过以下三种渠道提出政府信息公开申请: ①当面申请:申请人可以到临沭县水利局办公室,当面提交政府信息公开申请。 办公地址:临沭县沭新东街14号 办公时间:8:30-12:00,14:30-18:00(法定工作日,夏季);8:30-12:00,14:00-17:30(法定工作日,冬季) 联系电话:0539-6211750 ②邮政寄件申请:申请人通过邮政寄送方式提出申请的,请在信封左下角注明“政府信息公开申请”的字样。 地址:临沭县沭新东街14号 联系电话:0539-6211750 ③政府门户网站申请:申请人可以通过临沭县政府门户网站“政务公开”专栏“政府信息依申请公开”页面的在线服务功能填写《临沭县人民政府办公室信息公开申请表》提交申请。申请人成功提交申请后,请妥善保存电子回执,以便查询申请办理情况。 2.申请流程图
3.受理 本机关受理政府信息公开申请的机构为: 临沭县水利局办公室。 办公地址:临沭县沭新东街14号 办公时间:周一至周五上午:8:30—12:00;下午:14:30-18:00(法定工作日,夏季);上午:8:30—12:00;下午:14:00-17:30(法定节假日,冬季) 联系电话:0539-6211750 邮政编码:276700 本机关信息公开工作机构为: 临沭县水利局办公室。 办公地址:临沭县沭新东街14号 办公时间:周一至周五上午:8:30—12:00;下午:14:30-18:00(法定工作日,夏季);上午:8:30—12:00;下午:14:00-17:30(法定节假日,冬季) 联系电话:0539-6211750 邮政编码:276700 4.答复 本机关收到申请后,能够当场答复的,当场予以答复;不能当场答复的,自收到申请之日起20个工作日内予以答复;如需延长答复期限,经批准后,可延长20个工作日,并告知申请人。 申请人申请公开的信息涉及第三方权益的,本机关征求第三方意见所需时间不计算在上述规定的期限内。 本机关按下列情形对申请公开的信息予以答复: (1)属于公开范围的,告知该信息或获取该信息的方式和途径; (2)属于不予公开范围的,告知不予公开的理由; (3)依法不属于本机关公开或者该信息不存在的,及时告知申请人,对能够确定该政府信息公开机关的,告知该行政机关的名称、联系方式; (4)申请内容不明确的,告知申请人作出更改、补正; (5)属于部分公开的政府信息,提供可以公开的信息内容; (6)难以确定是否属于公开范围的,说明暂缓公开的理由和依据。 本机关通过制定收件单、告知书、第三方意见征询单等文书处理依申请公开政府信息,工作流程请参见《临沭县政府网依申请公开政府信息流程图》。 5.收费标准 本机关依申请提供政府信息,按照《国务院办公厅关于印发<政府信息公开信息处理费管理办法>的通知》(国办函〔2020〕109号)和《山东省人民政府办公厅关于做好政府信息公开信息处理费管理工作有关事项的通知》(鲁政办字〔2020〕179号)收取信息处理费。 三、监督和救济 公民、法人或者其他组织认为本机关提供的与其自身相关的政府信息记录不准确的,可以向本机关提出更正申请,并提供证据材料。本机关将根据申请作出相应处理,并告知申请人。 公民、法人或者其他组织认为本机关未依法履行政府信息公开义务的,可向本机关投诉举报(投诉电话:0539-6211750,办公地址:临沭县沭新东街14号,邮政编码:276700,接待投诉时间:8:30-12:00,14:30-18:00(法定工作日,夏季);8:30-12:00,14:00-17:30(法定工作日,冬季)。 公民、法人或其他组织也可以向上级行政机关、监察机关或者政府信息公开工作主管部门举报。 公民、法人或者其他组织认为行政机关在政府信息公开工作中的具体行政行为侵犯其合法权益的,公民、法人和其他组织可以依法申请行政复议或提起行政诉讼。 (1)行政复议机关:临沭县人民政府 受理机构:临沭县人民政府行政复议办公室 办公地址:临沭县正大街创业大厦东门公共法律服务中心18、19号窗口 邮政编码:276700 办公时间:8:30-12:00,14:30-18:00(法定工作日,夏季);8:30-12:00,14:00-17:30(法定工作日,冬季) 联系电话:0539-6239464 传 真:0539-6239464 (2)行政诉讼机关:临沭县人民法院 办公地址:临沭县沭河西街121号 邮政编码:276700 办公时间:8:30-12:00,14:30-18:00(法定工作日,夏季);8:30-12:00,14:00-17:30(法定工作日,冬季) 联系电话:0539-6200002 本指南将适时更新。
临沭县水利局 2025年1月3日 |
||||||||||||||||||||||||
|
附件【临沭县水利局信息公开申请表.doc】 |
||||||||||||||||||||||||
|
|
||||||||||||||||||||||||
| 【关闭窗口】 | ||||||||||||||||||||||||
智能问答

